Qingdao Ruichen Sealing Technology Co., Ltd.
Qingdao Ruichen Sealing Technology Co., Ltd.
Tooted
X

Klaasipuhasti rõngas

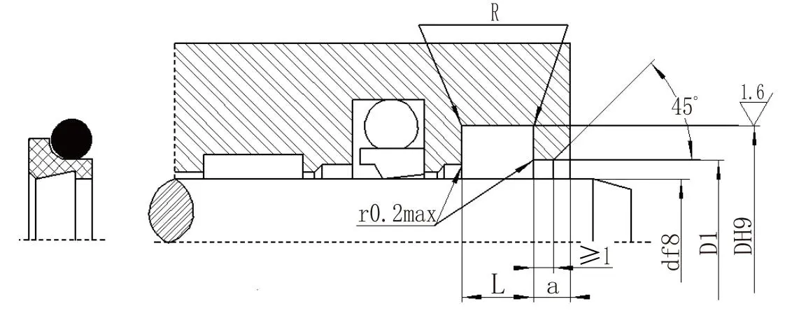
Ruichen Seali (tuntud kolvivarda tihendite tootja ja tarnija Hiinas) turule toodud topelthuulega kombineeritud tolmutihend koosneb täidetud PTFE-tihendusrõngast ja O-rõngast. Sellel on kahesuunaline tolmukaitse ja automaatsed kulumiskompensatsiooni funktsioonid, madal hõõrdumine, pikk kasutusiga ja tugev kohanemisvõime ning seda kasutatakse laialdaselt erinevates tööstuslikes liikumisstsenaariumides, nagu edasi-tagasi liikumine, kõikumine ja spiraal.

Jõudlus ja rakendused

Topelthuulega kombineeritud klaasipuhastitihend on kahesuunaline klaasipuhasti tihend, mis koosneb PTFE-ga täidetud topelthuulepuhasti rõngast ja O-rõngast. O-rõngas tagab eelkoormuse, kompenseerides PTFE-rõnga kulumist. See sobib edasi-tagasi, võnkuvateks või spiraalseteks liikumisteks.


Kasutustingimused

Rõhk Mpa

Temperatuur °C

Kiirus m/s

Keskmine

-

-35~+100 (sobiv O-rõngas NBR)

6

Hüdraulikaõli, emulsioon, vesi jne.

-20~+200 (sobiv O-rõngas FKM)


Tellimisnäide

Tellige mudel RCF02-80-PTFE3-R01

RCF02 – mudel 80 – võlli läbimõõt PTFE3 – üldotstarbeline modifitseeritud PTFE RO1 – sobiv kummimaterjali kood

Nitriil (NBR) - R01, fluorosüsinik (FKM) - RO2

Spetsifikatsiooniparameetrite tabel (saab pakkuda parameetrivahemikus mis tahes suurusega tooteid)

Võlli läbimõõdu vahemik d f8

Soone läbimõõt D H9

Soone laius L+0.2

Avatud augu läbimõõt

D1H11

Avatud augu laius a≥

Ümardatud nurgad R≤

O-rõnga traadi läbimõõt

d0

4~11

d+4,8

3.7

d+1,5

2

0.4

1.80

12-64

d+6,8

5.0

d+1,5

2

0.7

2.65

65-250

d+8,8

6.0

d+1,5

3

1.0

3.55

251-420

d+12,2

8.4

d+2,0

4

1.5

5.30

421-650

d+16,0

11.0

d+2,0

4

1.5

7.00

651-1500

d+20,0

14.0

d+2,5

5

2.0

8.60


Kuumad sildid: Klaasipuhasti rõngas
Saada päring
Kontaktinfo
Hankige konkurentsivõimelisi hindu, tehnilist tuge ja kiireid vastuseid. Saatke oma spetsifikatsioonid Ruichenile kohandatud tihenduslahenduste jaoks. Saadaval tasuta proovid.
X
Kasutame küpsiseid, et pakkuda teile paremat sirvimiskogemust, analüüsida saidi liiklust ja isikupärastada sisu. Seda saiti kasutades nõustute meie küpsiste kasutamisega. Privaatsuspoliitika
Keeldu Nõustu