|
Rõhk/MPa |
Temperatuur / °C |
Kiirus /m/s |
Keskmine |
|
≤40 |
-35~+100 (koos sobivate NBR O-rõngastega) |
≤2 |
Hüdraulikaõli, emulsioon, vesi, gaas jne. |
-20~+200 (koos sobivate O-rõngastega FKM) |
1. Sobivate O-rõngaste materjalide hulka kuuluvad: R01 nitriilbutadieenkautšuk (NBR), R02 fluorokumm (FKM) jne.
2. Tihendusrõnga materjalid: standardmaterjalid PTFE3 ja PTFE4; muud valikulised materjalid on PTFE1, PTFE2 ja PTFE5.
Ruichen on teostanud sõltumatut uurimis- ja arendustegevust ning tootmist tooraine algusest peale, realiseerides kontrolli kogu tooteahela üle.
1. Plastmasside ja komposiitmaterjalide ehitus: tuumana võtame polütetrafluoroetüleeni (PTFE) alates segamisest, paagutamisest kuni vormimiseni, igasuguste täidetud modifitseeritud komposiitmaterjalide torude ja vardade iseseisva tootmiseni ning seejärel täppistöötlemiseni tihenditeks. See tagab materjali omaduste stabiilsuse ja kohandatavuse.
2. Kõrge jõudlusega polüuretaanelastomeer: alustame eelpolümeeri valamisest, toodame iseseisvalt kvaliteetseid polüuretaanist toru- ja vardamaterjale ning töötleme neid erinevat tüüpi tihenditeks, millel on silmapaistev kulumiskindlus, survekindlus ja hüdrolüüsikindlus.
Tellimisnäide
Tellimismudel RC2054—80×69×4,2—PTFE3—R01 Mudel-D*d*L- Materjalikood Tellimismudel RCX18—80×69x4,2—HPU mudel-D*d*L- Materjalikood
Tehniliste andmete ja parameetrite tabel (saadaval on kõik parameetrite vahemikus olevad spetsifikatsioonid)
|
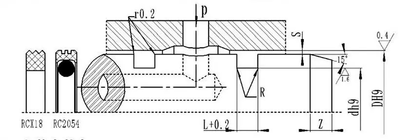
Ava ulatus DH9 |
Kaeviku läbimõõt dh9 |
Kaeviku laius L+0,2 |
Radiaalne kliirens Smax |
Ümardatud nurgad Rmax |
Chamfer Zmin |
|
|
0 ~ 10 MPa |
10-20 MPa |
|||||
|
8-39 |
D-4.9 |
2.2 |
0.15 |
0.1 |
0.4 |
2 |
|
40-79 |
D-7.5 |
3.2 |
0.2 |
0.15 |
0.6 |
3 |
|
80-132 |
D-11,0 |
4.2 |
0.25 |
0.2 |
1.0 |
4 |
|
133 ~ 329 |
D-15.5 |
6.3 |
0.3 |
0.25 |
1.3 |
5 |
|
330 ~ 669 |
D-21,0 |
8.1 |
0.3 |
0.25 |
1.8 |
7 |
|
670-1500 |
D-28,0 |
9.5 |
0.45 |
0.3 |
2.0 |
8 |
|
D |
d |
L |
D |
d |
L |
D |
d |
L |
D |
d |
L |
|
8 |
3.1 |
2.2 |
50 |
42.5 |
3.2 |
170 |
154.5 |
6.3 |
380 |
359.0 |
8.1 |
|
10 |
5.1 |
2.2 |
55 |
47.5 |
3.2 |
180 |
164.5 |
6.3 |
390 |
369.0 |
8.1 |
|
12 |
7.1 |
2.2 |
60 |
52.5 |
3.2 |
190 |
174.5 |
6.3 |
400 |
379.0 |
8.1 |
|
14 |
9.1 |
2.2 |
63 |
55.5 |
3.2 |
200 |
184.5 |
6.3 |
420 |
399.0 |
8.1 |
|
15 |
10.1 |
2.2 |
65 |
57.5 |
3.2 |
210 |
194.5 |
6.3 |
450 |
429.0 |
8.1 |
|
16 |
11.1 |
2.2 |
70 |
62.5 |
3.2 |
220 |
204.5 |
6.3 |
480 |
459.0 |
8.1 |
|
18 |
13.1 |
2.2 |
75 |
67.5 |
3.2 |
230 |
214.5 |
6.3 |
500 |
479.0 |
8.1 |
|
20 |
15.1 |
2.2 |
80 |
69.0 |
4.2 |
240 |
224.5 |
6.3 |
520 |
499.0 |
8.1 |
|
22 |
17.1 |
2.2 |
85 |
74.0 |
4.2 |
250 |
234.5 |
6.3 |
550 |
529.0 |
8.1 |
|
24 |
19.1 |
2.2 |
90 |
79.0 |
4.2 |
260 |
244.5 |
6.3 |
600 |
579.0 |
8.1 |
|
25 |
20.1 |
2.2 |
95 |
84.0 |
4.2 |
270 |
254.5 |
6.3 |
630 |
609.0 |
8.1 |
|
28 |
23.1 |
2.2 |
100 |
89.0 |
4.2 |
280 |
264.5 |
6.3 |
650 |
629.0 |
8.1 |
|
30 |
25.1 |
2.2 |
105 |
94.0 |
4.2 |
290 |
274.5 |
6.3 |
670 |
642.0 |
9.5 |
|
32 |
27.1 |
2.2 |
110 |
99.0 |
4.2 |
300 |
284.5 |
6.3 |
700 |
672.0 |
9.5 |
|
35 |
30.1 |
2.2 |
115 |
104.0 |
4.2 |
310 |
294.5 |
6.3 |
750 |
722.0 |
9.5 |
|
36 |
31.1 |
2.2 |
120 |
109.0 |
4.2 |
320 |
304.5 |
6.3 |
800 |
772.0 |
9.5 |
|
38 |
33.1 |
2.2 |
125 |
114.0 |
4.2 |
330 |
309.0 |
8.1 |
1000 |
972.0 |
9.5 |
|
40 |
32.5 |
3.2 |
130 |
119.0 |
4.2 |
340 |
319.0 |
8.1 |
|
|
|
|
42 |
34.5 |
3.2 |
140 |
124.5 |
6.3 |
350 |
329.0 |
8.1 |
|
|
|
|
45 |
37.5 |
3.2 |
150 |
134.5 |
6.3 |
360 |
339.0 |
8.1 |
|
|
|
|
48 |
40.5 |
3.2 |
160 |
144.5 |
6.3 |
370 |
349.0 |
8.1 |
|
|
|
Märkus. Nõutavaid spetsifikatsioone ei ole siin loetletud; võtke ühendust meie ettevõttega. Pakume tooteid maksimaalse läbimõõduga 2800mm.



Aadress
Nr.1 Ruichen Road, Dongliutingi tööstuspark, Chengyangi piirkond, Qingdao linn, Shandongi provints, Hiina
Tel
E-post