Qingdao Ruichen Sealing Technology Co., Ltd.
Qingdao Ruichen Sealing Technology Co., Ltd.
Tooted
X

TC õlitihendid

Pöördvõlli huuletihendid, üldtuntud kui õlitihendid, paigaldatakse laagrikorpusesse ja liiguvad pöörleva võlli suhtes. Metallist karkass pakub tuge ja vedru rakendab tihendushuule radiaalset eelkoormust, et vältida määrdeaine lekkimist ja väliste saasteainete sissetungimist.

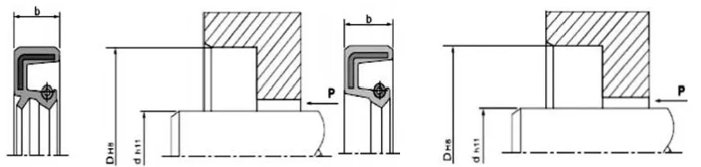
Paigaldusstruktuur ja nõuded

1. Võlli materjal: tavaliselt kasutatakse süsinikterast ja roostevaba terast. Suurte kiiruste korral kantakse pinnale kroomimine, HRC40-45.

2. Pöörleva võlli ja soonte konstruktsioon: võlli pind peab olema sile ja jäsemeteta. Spiraalsed töötlemisjäljed võivad tekitada pumpamise efekti, mis võib viia lekkeni. Õlitihendi paigaldusala on soovitatav lihvida pinnakaredusega Ra0,1–0,5 µm, mis muutub kiiruse suurenedes sujuvamaks. Paigaldamise ja lahtivõtmise hõlbustamiseks peavad võll ja sooned olema konstrueeritud faaside või ümarate servadega Vaata jooniseid 1 ja 2.

Tihendi kõrgus

b

b1 (0,85xb)

mm

b2(b+0,3)

mm

r

max.

7

5.95

7.3

0.5

8

6.80

8.3

0.5

10

8.50

10.3

0.5

12

10.30

12.3

0.7

15

12.75

15.3

0.7

20

17.00

20.3

0.7

Joonis 1. Soone faasi kujundus


d

d3

R

<10

d-1,5

2

10-20

d-2,0

2

20-30

d-2,5

3

30-40

d-3,0

3

40-50

d-3,5

4

50-70

d-4,0

4

70-95

d-4,5

5

95-130

d-5,5

6

130-240

d-7,0

8

240-500

d-11,0

12

500-800

d-14,0

14

800-1250

d-18,0

16

Joonis 2 Pöörleva võlli faasikujundus


Pöördvõlli huultihendite toimimist mõjutavad tegurid 

Tihendusefekti mõjutavad kümned tegurid. Peale õlitihendi enda, nagu selle materjal ja struktuur, mõjutavad tihendusefekti otseselt ka muud tegurid, nagu keskkond, temperatuur, rõhk, määrimine, kiirus ja pinna karedus ning need tegurid mõjutavad sageli üksteist. Järgmised tabelid on mõeldud ainult kasutajale viitamiseks.

Joonis 3. Temperatuuri mõju õlitihendile


Paigaldamine: Õlitihendite nõuetekohase toimimise eeltingimus on hoolikas paigaldamine.

Paigaldusskeem (õõnsuspaigaldus)

Õige paigaldusviis

Kohaldatavad töötingimused

Vale paigaldusmeetod

Seda meetodit saab kasutada ainult siis, kui õlitihendi otspind ja õõnsuse otspind on tasased. Kui pressimisseade töötab kiiresti, peab õlitihend olema õigesti paigutatud; vastasel juhul võib tekkida vale joondamine.

 

See konstruktsioon sobib olukordadeks, kus õlitihendi otspind on madalamal kui õõnsuse otspind. Isegi kiire pressimise korral saab õlitihendit siiski hästi paigutada. Seda tüüpi kinnitusel puudub aga radiaalne positsioneerimine, seetõttu peab pressimisseadme lameplaadi ja survevõlli aksiaalne perpendikulaarsus saavutama teatud täpsuse.

See meetod sobib olukordades, kus õlitihendi otspind on madalamal kui õõnsuse otspind. Seadme kiirel sissepressimisel on ülioluline tagada, et õlitihend oleks õiges asendis; vastasel juhul võib tekkida vale joondamine.


 

 


See meetod sobib ainult hoolduseks või lihtsateks paigaldustingimusteks, kus surveseade pole saadaval. Kuna paigaldamisel ei ole võimalik saavutada absoluutselt ühtlast pressimist, on mitmesugused paigaldusprobleemid vältimatud. See on mõeldud peamiselt selleks, et vältida paigaldamise ajal radiaalseid nihkeid, mis võivad deformeerida õlitihendit, või vältida õlitihendi vastasosa kummi (välisringi) kahjustamist paigaldamise ajal tekkivate pauside tõttu. Seetõttu ei ole see paigaldusviis üldiselt soovitatav.

 

TC/SC/TB/SB õlitihendid

Mõlemad koosnevad metallraamist, vedrust ja kummist korpusest. Metallraam pakub tuge ja vedru rakendab tihendushuule radiaalset jõudu. Nii TC kui ka TB mudelitel on tolmukindel lisahuul, mis sobib rakendusteks, kus ühel küljel on tihendusaine ja teisel küljel on tolm. TB/SB mudelitel on metallist välimine ring, mis muudab õlitihendi õõnsuses turvalisemaks ja täpsemaks. Siiski on välisringi tihendusvõime madala viskoossusega ja gaasilise keskkonna puhul piiratud; seetõttu on paigaldamise ja kasutamise ajal soovitatav kanda välimisele ringile hermeetikut.

Ristlõike kuju

Mudel

Rakendus

Surve

Temperatuur

Kiirus

Keskmine

Materjal

TC

Tihend, tolmukindel

0,03 MPa

-30~+160

20m/s

Määrdeõli ja -määre

NBR/FKM + süsinikteras

SC

Tihendamine

TB

Tihend, tolmukindel

-30~+100

25m/s

Vesi, määrdeõli, rasv

NBR + süsinikteras

SB

Tihendamine

Telli mudel TC-d*D*b

Spetsifikatsioon

Spetsifikatsioon

Spetsifikatsioon

Spetsifikatsioon

Spetsifikatsioon

Spetsifikatsioon

Spetsifikatsioon

TC-6*17*3,5

TC-9*25*7

TC-10*30*7

TC-12*25*10

TC-13*25*7

TC-14*32*8

TC-15*30*7

TC-7*18*7

TC-10*18*7

TC-11*22*7

TC-12*26*7

TC-13*26*7

TC-14*32*10

TC-15*30*8

TC-8*18*7

TC-10*19*7

TC-I1*25*7

TC-12*28*7

TC-13*28*7

TC-14*35*7

TC-15*30*10

TC-8*20*7

TC-10*20*5

TC-11*30*10

TC-12*28*8

TC-13*30*8

TC-14*35*8

TC-15*32*7

TC-8*22*7

TC-10*20*7

TC-12*19*3

TC-12*30*7

TC-14*24*7

TC-14*40*7

TC-15*32*10

TC-8*22*8

TC-10*22*5

TC-12*20*7

TC-12*30*10

TC-14*25*7

TC-15*22*8

TC-15*35*7

TC-8*25*7

TC-10*22*7

TC-12*21*7

TC-12*32*7

TC-14*26*7

TC-15*24*7

TC-15*35*8

TC-8*25*8

TC-10*22*8

TC-12*22*5

TC-12*32*10

TC-14*27*7

TC-15*25*5

TC-15*35*10

TC-8*30*7

TC-10*22*10

TC-12*22,5*5,5

TC-12*35*7

TC-14*28*7

TC-15*25*7

TC-15*38*7

TC-9*16*5

TC-10*24*7

TC-12*22*7

TC-12*35*10

TC-14*28*8

TC-15*25*8

TC-15*38*8

TC-9*18*7

TC-10*25*5

TC-12*22*8

TC-12,7*22,22*5

TC-14*28*10

TC-15*26*7

TC-15*38*10

TC-9*19*7

TC-10*25*7

TC-12*24*6

TC-12,7*25,4*7

TC-14*29*7

TC-15*27*7

TC-15*40*8

TC-9*20*7

TC-10*25*10

TC-12*24*7

TC-12,7*26*8

TC-14*30*7

TC-15*27*8

TC-15*40*10

TC-9*22*7

TC-10*26*7

TC-12*25*7

TC-12,7*30*8

TC-14*30*10

TC-15*28*7

TC-15*42*7

TC-9*24*7

TC-10*28*7

TC-12*25*8

TC-13*23*7

TC-14*32*7

TC-15*28*10

TC-15*42*8

 




Kuumad sildid: TC õlitihendid
Saada päring
Kontaktinfo
Hankige konkurentsivõimelisi hindu, tehnilist tuge ja kiireid vastuseid. Saatke oma spetsifikatsioonid Ruichenile kohandatud tihenduslahenduste jaoks. Saadaval tasuta proovid.
X
Kasutame küpsiseid, et pakkuda teile paremat sirvimiskogemust, analüüsida saidi liiklust ja isikupärastada sisu. Seda saiti kasutades nõustute meie küpsiste kasutamisega. Privaatsuspoliitika
Keeldu Nõustu