Qingdao Ruichen Sealing Technology Co., Ltd.
Qingdao Ruichen Sealing Technology Co., Ltd.
Tooted
X

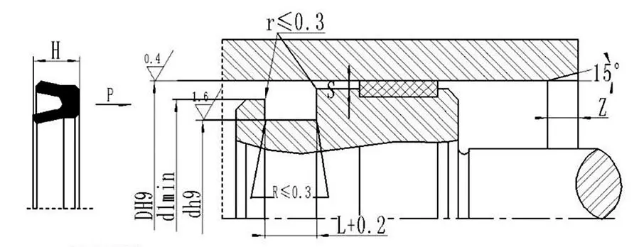
Esmaklassiline ühetoimeline U-tassi huule tihend

Ruichen Sealsi esmaklassiline ühetoimeline U-tassi huule tihend kasutab suure jõudlusega polüuretaanmaterjali (PU) ja asümmeetrilist konstruktsiooni. Vastab ISO5597 rahvusvahelistele soonestandarditele, töötati välja ühesuunaliseks tihendamiseks kolbhüdraulilistes rakendustes. See pakub suurepärast tihendusjõudlust, kulumiskindlust ja ekstrusioonivastaseid omadusi, mistõttu sobib see ehitusmasinate, põllumajandusseadmete ja tööstuslike hüdraulikasüsteemide jaoks.

Premium Single-Acting U-Cup Lip Seal on asümmeetriline tihend, mis on mõeldud kasutamiseks kolbidel. See sobib ühesuunaliseks tihendamiseks hüdraulilisel edasi-tagasi liikumisel ja pakub suurepärast tihendusjõudlust. Soon vastab ISO5597 standarditele.


Kohaldatavad töötingimused (piirväärtused ei tohiks ilmuda samal ajal)

Rõhk Mpa

Temperatuur ℃

Kiirus m/s

Keskmine

≤40

-30~+100

≤0,5

Hüdraulikaõli, mineraalid, emulsioon jne.


Materjali valik: polüuretaan (PU)


Tellimisnäide

Telli mudel RCUPD63x48x10 silindri läbimõõt x soone läbimõõt x tihendi kõrgus

Väljapressimise vahe

Rõhk Mpa

Ekstrusioonivahe Smax

Silindri läbimõõt D≤60mm

Silindri läbimõõt D>60mm

≤5

0.4

0.5

≤10

0.3

0.5

≤20

0.2

0.3

≤30

0.15

0.2

≤40

0.1

0.15


Kuumad sildid: Esmaklassiline ühetoimeline U-tassi huule tihend
Saada päring
Kontaktinfo
Hankige konkurentsivõimelisi hindu, tehnilist tuge ja kiireid vastuseid. Saatke oma spetsifikatsioonid Ruichenile kohandatud tihenduslahenduste jaoks. Saadaval tasuta proovid.
X
Kasutame küpsiseid, et pakkuda teile paremat sirvimiskogemust, analüüsida saidi liiklust ja isikupärastada sisu. Seda saiti kasutades nõustute meie küpsiste kasutamisega. Privaatsuspoliitika
Keeldu Nõustu